º»¹® ¹Ù·Î°¡±â ÁÖ¸Þ´º·Î ¹Ù·Î°¡±â
  • facebook ¹Ù·Î°¡±â
  • twitter ¹Ù·Î°¡±â
  • ³×À̹öºí·Î±× ¹Ù·Î°¡±â
  • ´ÙÀ½ºí·Î±× ¹Ù·Î°¡±â
  • Youtube ¹Ù·Î°¡±â

Àü±¹¹ý¿ø ÁÖ¿äÆÇ°á

Àü±¹¹ý¿ø ÁÖ¿äÆÇ°á
Àü±¹¹ý¿ø ÁÖ¿äÆÇ°á ³»¿ë
Á¦¸ñ [µðÀÚÀÎ]µî·ÏµðÀÚÀÎÀº ¼±ÇàµðÀÚÀÎ 2¿¡ ¼±ÇàµðÀÚÀÎ 1, 3À» °áÇÕÇÏ¿© âÀÛÀÌ ¿ëÀÌÇϹǷΠµî·Ï ¹«È¿¶ó°í ÆÇ´ÜÇÑ »ç·Ê(ƯÇã¹ý¿ø 2021Çã5310)
ÀÛ¼ºÀÚ Æ¯Çã¹ý¿ø [´ëÀü] ÀÛ¼ºÀÏ 2022-09-27
Á¶È¸¼ö 1882
÷ºÎÆÄÀÏ  [1]2021Çã5310.pdf

l  »ç°Ç °³¿ä

¿ø°í´Â 2020. 2. 19. ÇÇ°í¸¦ »ó´ë·Î µî·ÏµðÀÚÀÎÀº ¼±ÇàµðÀÚÀÎ 1°ú ÀüüÀû ½É¹Ì°¨ÀÌ À¯»çÇÏ¿© ½Å±Ô¼ºÀÌ ¾ø°í, ¼±ÇàµðÀÚÀÎ 1ÀÇ Áö¹èÀû Ư¡¿¡ ¼±ÇàµðÀÚÀÎ 2ÀÇ ¹Ù´ÚºÎ, ¹ß°¡¶ôºÎ, Ãø¸éºÎ ÆÐÅÏÀ» °áÇÕÇÏ¿© ½±°Ô âÀÛÇÒ ¼ö ÀÖ´Â µðÀÚÀÎÀ̹ǷÎ, ±× µî·ÏÀÌ ¹«È¿·Î µÇ¾î¾ß ÇÑ´Ù°í ÁÖÀåÇÏ¸ç µî·Ï¹«È¿½ÉÆÇÀ» û±¸ÇÏ¿´´Ù. ƯÇã½ÉÆÇ¿øÀº ¿ø°íÀÇ ½ÉÆÇû±¸¸¦ 2020´ç557È£·Î ½É¸®ÇÏ¿©, 2021. 9. 27. µî·ÏµðÀÚÀÎÀº ¼±ÇàµðÀÚÀÎ 1°ú Áö¹èÀû Ư¡ÀÌ »óÀÌÇÏ¸ç ¼±ÇàµðÀÚÀÎ 1¿¡ ¼±ÇàµðÀÚÀÎ 2¸¦ °áÇÕÇÏ¿© ½±°Ô âÀÛÇÒ ¼ö ¾ø´Â µðÀÚÀÎÀ̶ó´Â ÀÌÀ¯·Î ¿ø°íÀÇ ½ÉÆÇû±¸¸¦ ±â°¢ÇÏ´Â ÀÌ »ç°Ç ½É°áÀ» ÇÏ¿´´Ù.

 

µî·ÏµðÀÚÀÎ

¼±ÇàµðÀÚÀÎ 1

¼±ÇàµðÀÚÀÎ 2

¼±ÇàµðÀÚÀÎ 3

1 

2 

 3 

 4 

 

 

 

 

 

 

 

 

 

 

  

l  ÆÇ½Ã ¿äÁö

 

   µî·ÏµðÀÚÀΰú ¼±ÇàµðÀÚÀεéÀÌ ¼ÓÇÏ´Â µ¡¹ö¼±, µ¡½Å·ùÀÇ °æ¿ì µ¡¹ö¼±ÀÇ Ãø¸éºÎ´Â Àü¸éºÎ(¹ß°¡¶ôºÎ)¿Í ÇÔ²² Á¦Ç°À» Âø¿ëÇÏ¿´À» ¶§ ¹Ù·Î ´«¿¡ ¶ç´Â ºÎºÐÀ¸·Î¼­ ´ë»ó¹°Ç°°ú °ü·ÃÇÏ¿© Àüü µðÀÚÀο¡¼­ Â÷ÁöÇÏ´Â ºñÁßÀÌ Å©°í ½É¹Ì°¨À̳ª Âø¿ë°¨¿¡µµ ¿µÇâÀ» ÁÙ ¼ö ÀÖ´Ù´Â Á¡¿¡¼­, º¸´Â »ç¶÷ÀÇ ÁÖÀǸ¦ ²ø±â ½±°í ´«¿¡ Àß º¸ÀÌ´Â Áö¹èÀûÀΠƯ¡¿¡ ÇØ´çÇÑ´Ù ÇÒ °ÍÀÌ´Ù. ¹Ý¸é, µÚ²ÞÄ¡ºÎ³ª ¹Ù´Ú¸éÀº ´ë»ó¹°Ç°ÀÎ µ¡½Å·ùÀÇ °Å·¡³ª »ç¿ëÇÒ ¶§ º°´Ù¸¥ À̸ñÀ» ²ø±â ¾î·Á¿ö Áö¹èÀûÀΠƯ¡À» Çü¼ºÇÑ´Ù°í º¼ ¼ö ¾ø´Ù.

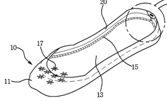
  ÆäÀÌÅ© »è½º ÇüÅÂÀÇ µ¡½ÅÀÇ °æ¿ì ¹Ù´Ú¸éÀ» Çü¼ºÇÏ´Â ÇϺΠ¿ø´Ü(¹Ù´Ú¸é)°ú ¹ßÀ» °¨½Î´Â »óºÎ ¿ø´Ü(¹ß°¡¶ôºÎ, Ãø¸éºÎ, µÚ²ÞÄ¡ºÎ)À¸·Î ±¸¼ºµÇ°í ½ÅÀ» ½Å¾úÀ» ¶§ º¸ÀÌÁö ¾Ê°Ô ÇÏ·Á´Â ¸ñÀûÀ» ´Þ¼ºÇϱâ À§Çؼ­´Â °¢ ºÎºÐÀÇ ±¸¼ºÀ̳ª ÀüüÀûÀÎ Çü»óÀº ¾î´À Á¤µµ °øÅëµÉ ¼ö ¹Û¿¡ ¾ø´Ù. µû¶ó¼­ ÀÌ¿Í °°Àº µ¡½Å¿¡ °üÇÑ µðÀÚÀΠâÀÛÀÇ ¿äü´Â Áö¹èÀûÀΠƯ¡À» Çü¼ºÇÏ´Â »óºÎ ¿ø´Ü, ƯÈ÷ ¹ß°¡¶ôºÎ¿Í Ãø¸éºÎ ¿ø´ÜÀÇ ¸ð¾ç(¹«´Ì) ¹× »ö»ó, À̵éÀÇ °áÇÕ ÇüÅÂ(ºÀÁ¦¼±ÀÇ À¯¹« µî), ¹ß»ðÀÔ±¸ Å׵θ®ÀÇ Çü»ó(Âø¿ë ½Ã µ¡½Å°ú ¹ßÀÇ °æ°è¸¦ ÀÌ·ç¸ç ¹ß°ú ¾î¿ï·Á µ¶Æ¯ÇÑ ½É¹Ì°¨À» ÁÙ ¼ö ÀÖ´Ù) µîÀÇ ¼±Åà ¹× »õ·Î¿î Á¶ÇÕÀ» ÅëÇØ µ¶Æ¯ÇÑ ¹Ì°¨Àû °¡Ä¡¸¦ ³ªÅ¸³»´Â°¡¿¡ ÀÖ´Ù°í ÇÒ °ÍÀÌ´Ù.

   ¼±ÇàµðÀÚÀÎ 2¿¡´Â ‘¹ß »ðÀÔ±¸ÀÇ µÑ·¹¸¦ µû¶ó ¾ã°í ±ä ¶ì ¸ð¾çÀ¸·Î Çü¼ºµÈ ¹êµå’ÀÇ Çü»óÀÌ ±×´ë·Î °³½ÃµÇ¾î Àִ¹Ù, ±× ¹êµåÀÇ ÀçÁúÀ» ¼±ÇàµðÀÚÀÎ 1ÀÌ µÚ²ÞÄ¡ºÎ¿¡ »ç¿ëÇÏ´Â ³»¿ëÀ» °³½ÃÇϰí ÀÖ´Â ‘½Ç¸®ÄÜ ¹êµå’·Î ´ëüÇϰí, ¼±ÇàµðÀÚÀÎ 3°ú °°ÀÌ ¹ß»ðÀÔ±¸ Å׵θ® Àüü¿¡ Àû¿ëÇϵµ·Ï ÇÏ´Â °ÍÀº ±× µðÀÚÀÎ ºÐ¾ßÀÇ ÀϹÝÀû °æÇâ¿¡ ºñÃß¾î º¼ ¶§ Åë»óÀÇ µðÀÚÀ̳ʰ¡ Ưº°ÇÑ ¾î·Á¿ò ¾øÀÌ ½ÃµµÇÒ ¼ö ÀÖ´Â ÈçÇÑ Ã¢ÀÛ¼ö¹ý¿¡ ÀÇÇÑ º¯Çü¿¡ ºÒ°úÇÏ´Ù ÇÒ °ÍÀÌ´Ù.

µÚ²ÞÄ¡ºÎ³ª ¹Ù´Ú¸éÀº µ¡½ÅÀÇ ±¸¸Å³ª Âø¿ë ½Ã º°´Ù¸¥ À̸ñÀ» ²ø±â ¾î·Á¿ö Áö¹èÀûÀΠƯ¡À» Çü¼ºÇÏ±â ¾î·Æ´Ù. ¶ÇÇÑ, µÚ²ÞÄ¡ºÎÀÇ ºÀÁ¦¼± À¯¹«´Â ±× µðÀÚÀÎ ºÐ¾ß¿¡¼­ ÈçÇÏ°Ô »ç¿ëµÇ´Â Á¦Á¶±â¹ý µî¿¡ ÀÇÇØ ½±°Ô º¯°æÇÒ ¼ö ÀÖ´Â °Í¿¡ Áö³ªÁö ¾Ê´Â´Ù°í ÇÒ °ÍÀÌ´Ù. µî·ÏµðÀÚÀΰú ¼±ÇàµðÀÚÀÎ 2´Â ±× ¹Ù´Ú¸éÀÇ ¸ð¾çÀÌ »óÀÌÇϳª, µî·ÏµðÀÚÀÎÀÇ ¹Ì²ô·³ ¹æÁöºÎ¸¦ ÀÌ·ç´Â ¿µ¹®ÀÚ ¹× »ç°¢Çü°ú ±× ¹èÄ¡ ÇüÅ´ ÀüüÀûÀ¸·Î º¼ ¶§ ´Ù¸¥ ¹Ì°¨Àû °¡Ä¡°¡ ÀÎÁ¤µÇÁö ¾Ê´Â »ó¾÷Àû º¯Çü¿¡ ±×Ä£´Ù°í º½ÀÌ Å¸´çÇÏ´Ù.

           ±×·¸´Ù¸é µî·ÏµðÀÚÀÎÀº Åë»óÀÇ µðÀÚÀ̳ʰ¡ ¼±ÇàµðÀÚÀÎ 2¿¡ ¼±ÇàµðÀÚÀÎ 1, 3À» °áÇÕÇÏ¿© ½±°Ô âÀÛÇÒ ¼ö ÀÖ´Â µðÀÚÀÎÀ¸·Î¼­ ±¸ µðÀÚÀκ¸È£¹ý Á¦5Á¶ Á¦2Ç×ÀÌ Á¤ÇÏ´Â »çÀ¯°¡ ÀÖ¾î ±× µî·ÏÀÌ ¹«È¿·Î µÇ¾î¾ß ÇÑ´Ù. µû¶ó¼­ ÀÌ¿Í ´Ù¸¥ ÀüÁ¦¿¡ ¼± ÀÌ »ç°Ç ½É°áÀº À§¹ýÇÏ´Ù.

 

 Å°¿öµå: µðÀÚÀÎ, µî·Ï¹«È¿, âÀÛ¿ëÀÌ, µ¡¹ö¼±, µ¡½Å

 

ÀÌÀü±Û,´ÙÀ½±Û
ÀÌÀü±Û [µðÀÚÀÎ]µî·ÏµðÀÚÀÎÀº ¼±ÇàµðÀÚÀεé·ÎºÎÅÍ Ã¢ÀÛÀÌ ¿ëÀÌÇÏÁö ¾ÊÀ¸¹Ç·Î µî·Ï ¹«È¿ »çÀ¯°¡ ¾ø´Ù°í ÆÇ´ÜÇÑ »ç·Ê(ƯÇã¹ý¿ø 2021Çã5020)
´ÙÀ½±Û [µðÀÚÀÎ]¼±ÇàµðÀÚÀÎÀÌ µî·ÏµðÀÚÀÎÀÇ Ãâ¿ø Àü °øÁö ¶Ç´Â °ø¿¬½Ç½ÃµÇ¾úÀ½ÀÌ ÀÎÁ¤µÇ°í, µî·ÏµðÀÚÀÎÀÌ ¼±ÇàµðÀÚÀΰú À¯»çÇÏ¿© ½Å±Ô¼ºÀÌ ºÎÁ¤µÇ¹Ç·Î, ±×¿¡ ´ëÇÑ µî·Ï¹«È¿½É°áÀÌ ¾ø¾îµµ ±× ±Ç¸®¹üÀ§¸¦ ÀÎÁ¤ÇÒ ¼ö ¾ø¾î Çǰíµé Á¦Ç°ÀÇ Ä§ÇØ°¡ ºÎÁ¤µÈ »ç·Ê(ƯÇã¹ý¿ø 2021³ª1824)
(06590) ¼­¿ïƯº°½Ã ¼­Ãʱ¸ ¼­ÃÊ´ë·Î 219(¼­Ãʵ¿)
´ëÇ¥ÀüÈ­ 02)3480-1100 | ȨÆäÀÌÁö ÀÌ¿ë ¹®ÀÇ 02)3480-1715(ÆòÀÏ9½Ã~18½Ã) | ÀÎÅͳݵî±â »ç¿ëÀÚÁö¿ø¼¾ÅÍ 1544-0770
WA ÀÎÁõ
top