|
l »ç°Ç °³¿ä
¿ø°í´Â 2019. 1. 24. ƯÇã½ÉÆÇ¿ø¿¡ ÀÌ »ç°Ç µî·ÏµðÀÚÀÎ( )ÀÇ µðÀÚÀαÇÀÚÀÎ ÇÇ°í¸¦ »ó´ë·Î, “ÀÌ »ç°Ç µî·ÏµðÀÚÀÎÀº ¼±ÇàµðÀÚÀÎ 1 ³»Áö 4¿Í µ¿ÀÏ·À¯»çÇÏ¿© ±¸ µðÀÚÀκ¸È£¹ý(2017. 3. 21. ¹ý·ü Á¦14686È£·Î °³Á¤µÇ±â ÀüÀÇ °Í, ÀÌÇÏ °°´Ù) Á¦33Á¶ Á¦1Ç× °¢È£¿¡ ÇØ´çÇϰí, Åë»óÀÇ µðÀÚÀ̳ʰ¡ ¼±ÇàµðÀÚÀÎ 1 ³»Áö 4 ¶Ç´Â ³Î¸® ¾Ë·ÁÁø ÇüŸ¦ °áÇÕÇÏ¿© ¿ëÀÌÇÏ°Ô Ã¢ÀÛÀÌ °¡´ÉÇϹǷΠ±¸ µðÀÚÀκ¸È£¹ý Á¦33Á¶ Á¦2Ç׿¡ ÇØ´çÇϸç, Çǰí ȸ»çÀÇ ´ëÇ¥ÀÌ»ç DÀÌ ÀÌ »ç°Ç µî·ÏµðÀÚÀÎÀÇ Ã¢ÀÛÀÚ¶ó ÇÒ ¼ö ¾ø¾î ±× µî·ÏÀÌ ¹«È¿·Î µÇ¾î¾ß ÇÑ´Ù.”¶ó°í ÁÖÀåÇÏ¸é¼ ÀÌ »ç°Ç µî·ÏµðÀÚÀο¡ ´ëÇÑ µî·Ï¹«È¿½ÉÆÇÀ» û±¸ÇÏ¿´´Ù. ÀÌ¿¡ ƯÇã½ÉÆÇ¿øÀº À§ ½ÉÆÇû±¸¸¦ 2019´ç304È£·Î ½É¸®ÇÑ ´ÙÀ½ 2021. 2. 19. “ÀÌ »ç°Ç µî·ÏµðÀÚÀÎÀº ½Å±Ô¼º »ó½ÇÀÇ ¿¹¿Ü ±ÔÁ¤À» Àû¿ë¹Þ¾Æ Àû¹ýÇÏ°Ô µî·ÏµÈ °ÍÀ̹ǷÎ, ±¸ µðÀÚÀκ¸È£¹ý Á¦36Á¶ Á¦1Ç×ÀÇ ±ÔÁ¤¿¡ ÀÇÇÏ¿© ½Å±Ô¼ºÀ» »ó½ÇÇÏÁö ¾Æ´ÏÇÑ °ÍÀ¸·Î ÀÎÁ¤µÇ°í, ¼±ÇàµðÀÚÀÎ 1 ³»Áö 4¿¡ ÀÇÇØ ¿ëÀÌÇÏ°Ô Ã¢ÀÛÇÒ ¼ö ÀÖ´Â µðÀÚÀο¡ ÇØ´çÇÏÁö ¾Æ´ÏÇϹǷÎ, °°Àº ¹ý Á¦33Á¶ Á¦1Ç× ¹× Á¦2Ç׿¡ ÇØ´çÇÏÁö ¾Ê´Â´Ù.”¶ó´Â ÀÌÀ¯·Î ¿ø°íÀÇ À§ ½ÉÆÇû±¸¸¦ ±â°¢ÇÏ´Â ÀÌ »ç°Ç ½É°áÀ» ÇÏ¿´´Ù.
|
¼±ÇàµðÀÚÀÎ 5 |
¼±ÇàµðÀÚÀÎ 6 |
¼±ÇàµðÀÚÀÎ 7 |
¼±ÇàµðÀÚÀÎ 8 |
¼±ÇàµðÀÚÀÎ 9 |
|

|

|
|
|
|
|
¼±ÇàµðÀÚÀÎ 10 |
¼±ÇàµðÀÚÀÎ 11 |
¼±ÇàµðÀÚÀÎ 12 |
¼±ÇàµðÀÚÀÎ 13 |
- |
|
|
|
|
|
- |
l ÆÇ½Ã ¿äÁö
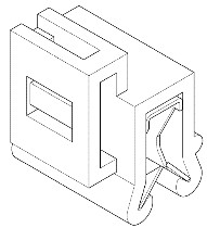
¼±ÇàµðÀÚÀÎ 1 ³»Áö 4´Â ÀÌ »ç°Ç µî·ÏµðÀÚÀΰú °°ÀÌ ‘ÀÚµ¿Â÷¿ë ¹øÈ£ÆÇ ºÎÂøÆÐ³Î’¿¡ °üÇÑ µðÀÚÀÎÀ¸·Î, ÀÌ »ç°Ç µî·ÏµðÀÚÀÎÀÇ µðÀÚÀαÇÀÚÀÎ ÇÇ°í°¡ ÀÌ »ç°Ç µî·ÏµðÀÚÀΰú µ¿ÀÏÇÑ Çü»ó°ú ¸ð¾çÀ¸·Î Á¦ÀÛÇÏ¿© F¿¡°Ô Á¦°øÇÑ °ÍÀ¸·Î ÀÌ »ç°Ç µî·ÏµðÀÚÀÎÀº ±× Ãâ¿ø Àü¿¡ °øÁöµÈ ¼±ÇàµðÀÚÀÎ 1 ³»Áö 4¿Í µ¿ÀÏ, À¯»çÇÑ µðÀÚÀÎÀÌ´Ù
① ´çÃÊ ÀÌ »ç°Ç °è¾à¿¡¼ ÇÇ°í°¡ F¿¡°Ô ÀÌ »ç°Ç ±ÝÇüÀ» Á¦ÀÛÇÏ¿© °ø±ÞÇϱâ·Î Çϸé¼, Á¦15Á¶¿¡¼ ÇÇ°í°¡ ÀÌ »ç°Ç µî·ÏµðÀÚÀο¡ °üÇÑ ±Ç¸®¸¦ Æ÷ÇÔÇÏ¿© ±×¿¡ °üÇÑ ¸ðµç Áö½ÄÀç»ê±ÇÀ» °®±â·Î ÇÕÀÇÇÑ Á¡, ② ÀÌ »ç°Ç °è¾à¿¡ µû¸¥ µðÀÚÀÎÀÇ Ã¢ÀÛ °úÁ¤¿¡¼ DÀÌ F¿¡°Ô µðÀÚÀÎ ÃʾÈÀ» ¼ÛºÎÇϰí, FÀÇ Çǵå¹é¿¡ µû¶ó DÀÌ À̸¦ ¼öÁ¤ÇÑ °Í¿¡ ºñÇØ F´Â ÇÇ°í¿¡°Ô µµ¸éÀ̳ª »ç¾ç¼ µîÀ» Á¦°øÇÑ ¹Ù ¾ø´Â Á¡, ③ ÀÌÈÄ ÀÌ »ç°Ç µî·ÏµðÀÚÀο¡ ´ëÇÏ¿© DÀ» âÀÛÀÚ·Î ÇÏ¿© ÇÇ°í ¸íÀÇÀÇ µðÀÚÀεî·ÏÀÌ ÀÌ·ïÁ³°í, ÀÌ¿¡ ´ëÇÏ¿© Çǰí¿Í F¿Í »çÀÌ¿¡ ¾Æ¹«·± ´ÙÅùÀÌ ¾ø¾ú´ø °ÍÀ¸·Î º¸ÀÌ´Â Á¡, ④ F°¡ D¿¡°Ô Á¦½ÃÇÑ Çǵå¹éÀº ‘¹øÈ£ÆÇÀ» Àü¸é ±×¸±ÀÌ ¾Æ´Ñ ¾Æ·¡ÂÊ¿¡ ¼³Ä¡µÇµµ·Ï ÇØ´Þ¶ó’´Â °ÍÀ¸·Î¼ µðÀÚÀο¡ ´ëÇÑ ±âº»ÀûÀÎ °úÁ¦ ¶Ç´Â ¾ÆÀ̵ð¾î¸¸À» Á¦°øÇÑ °Í¿¡ ºÒ°úÇÏ°í ±¸Ã¼ÀûÀÎ Âø»óÀ» »õ·Ó°Ô Á¦½ÃÇÏ´Â µî µðÀÚÀÎÀÇ Ã¢ÀÛÇàÀ§¿¡ ½ÇÁúÀûÀ¸·Î ±â¿©Çß´Ù°í º¸±â ¾î·Á¿î Á¡ µîÀ» Á¾ÇÕÇØ º¸¸é, DÀÌ µ¶ÀÚÀûÀ¸·Î ÀÌ »ç°Ç µî·ÏµðÀÚÀÎÀÇ Ã¢ÀÛÇàÀ§¿¡ ½ÇÁúÀûÀ¸·Î ±â¿©Çß´Ù°í º½ÀÌ »ó´çÇÏ´Ù. µû¶ó¼ DÀÌ ÀÌ »ç°Ç µî·ÏµðÀÚÀÎÀÇ Ã¢ÀÛÀÚ·Î ÀÎÁ¤µÈ´Ù.
µû¶ó¼ ÀÌ »ç°Ç µî·ÏµðÀÚÀÎÀº âÀÛÀÚÀÎ DÀ¸·ÎºÎÅÍ ±Ç¸®¸¦ ½Â°èÇÏ¿© ±× µðÀÚÀο¡ ´ëÇÏ¿© µðÀÚÀεî·ÏÀ» ¹ÞÀ» ¼ö ÀÖ´Â Á¤´çÇÑ ±Ç¸®¸¦ °¡Áø ÀÚÀÎ ÇÇ°í¿¡ ÀÇÇØ Ãâ¿ø Àü¿¡ °øÁöµÇ¾ú°í, ÇÇ°í°¡ Ãâ¿ø Àü¿¡ ±¸ µðÀÚÀκ¸È£¹ýÀÌ Á¤ÇÑ ÀýÂ÷Àû ¿ä°ÇÀ» °®Ãß¾î ±× °øÁöÀϷκÎÅÍ 6°³¿ù À̳»¿¡ Ãâ¿øÇÏ¿´À¸¹Ç·Î, ÀÌ¿¡ ´ëÇÏ¿© ±¸ µðÀÚÀκ¸È£¹ý Á¦36Á¶ Á¦1Ç× º»¹®, Á¦2Ç× Á¦4È£¿¡ ÀÇÇÏ¿© ½Å±Ô¼º µî »ó½ÇÀÇ ¿¹¿Ü°¡ Àû¿ëµÈ´Ù.
ÀÌ »ç°Ç µî·ÏµðÀÚÀο¡´Â ① Àü¸éºÎ¿¡ 3°³ÀÇ Á÷»ç°¢Çü ȨÀÌ Çü¼ºµÇ¾î, Ȩ ³»ºÎ¿¡´Â »óºÎ¿¡ ±Þ°ÝÇÑ °æ»ç¸éÀÌ, ÇϺο¡´Â ¿Ï¸¸ÇÑ °æ»ç¸éÀÌ °¢ Çü¼ºµÇ¾î ÀÖ°í, ② ÈĸéºÎ¿¡´Â Àü¸éºÎÀÇ È¨¿¡ ´ëÀÀÇÏ¿© ÀüüÀûÀ¸·Î H Çü»óÀÇ µ¹ÃâºÎ°¡ Çü¼ºµÇ¾î ÀÖÀ¸¸ç À̸¦ Á·¿ìÃø¿¡¼ »ìÆìº¸¸é »óºÎ¿¡´Â ±Þ°ÝÇÑ °æ»ç¸éÀÌ, ÇϺο¡´Â ¿Ï¸¸ÇÑ °æ»ç¸éÀÌ Çü¼ºµÇ¾î ÀÖÀ¸³ª, ¼±ÇàµðÀÚÀÎ 5, 6, 7¿¡´Â ÀÌ·¯ÇÑ ±¸¼ºÀÌ ¾ø´Â Á¡¿¡¼ Â÷À̰¡ ÀÖ´Ù. 1.1.1.1. À§ Â÷ÀÌÁ¡µéÀº ÀÚµ¿Â÷ ¹øÈ£ÆÇ ºÎÂø¿ë ÆÐ³Î¿¡¼ ½±°Ô ¹ß°ßÇÒ ¼ö ¾ø´Â °ÍÀ¸·Î¼ ÀÌ·Î ÀÎÇÏ¿© ÀÌ »ç°Ç µî·ÏµðÀÚÀÎÀº ¼±ÇàµðÀÚÀÎ 5, 6, 7°ú ´Ù¸¥ ¹Ì°¨Àû °¡Ä¡¸¦ °¡Áö°Ô ÇÑ´Ù.
ÀÌ »ç°Ç µî·ÏµðÀÚÀÎÀÇ È¨Àº ÀüüÀûÀ¸·Î H Çü»óÀÇ µ¹ÃâºÎ·Î, À̸¦ Á·¿ìÃø¿¡¼ »ìÆìº¸¸é »óºÎ¿¡´Â ±Þ°ÝÇÑ °æ»ç¸éÀÌ, ÇϺο¡´Â ¿Ï¸¸ÇÑ °æ»ç¸éÀÌ Çü¼ºµÇ¾î ÀÖ´Â ÇüÅÂÀε¥, ¼±ÇàµðÀÚÀÎ 8 ³»Áö 13¿¡¼´Â ÀÌ·¯ÇÑ ±¸¼ºÀÌ ÀüÇô ¾ø´Ù.
µû¶ó¼ ¼±ÇàµðÀÚÀÎ 5, 6, 7¿¡ ¼±ÇàµðÀÚÀÎ 8 ³»Áö 13À» °áÇÕÇÏ¿© ÀÌ »ç°Ç µî·ÏµðÀÚÀÎÀ» ½±°Ô âÀÛÇÒ ¼ö ÀÖ´Ù°í ÇÒ ¼ö ¾ø´Ù.
Ű¿öµå: µðÀÚÀÎ, ½Å±Ô¼º, ¿ëÀÌâÀÛ¼º, ½Å±Ô¼º »ó½ÇÀÇ ¿¹¿Ü, ±¸ µðÀÚÀκ¸È£¹ý Á¦36Á¶ Á¦1Ç×, ÀÚµ¿Â÷¿ë ¹øÈ£ÆÇ ºÎÂøÆÐ³Î
|